计算机毕业设计springboot基于java的校园安全管理系统swr3s9(配套有源码 程序 mysql数据库 论文)
本套源码可以在文本联xi,先看具体系统功能演示视频领取,可分享源码参考。
随着信息技术的飞速发展,校园安全管理的需求也在不断升级。传统的校园安全管理方式面临着效率低下、信息更新不及时、数据管理复杂等诸多问题。为了满足现代校园对安全管理高效、便捷和智能化的要求,开发一套基于Spring Boot框架和Java语言的校园安全管理系统显得尤为重要。该系统旨在通过信息化手段优化校园安全管理流程,提升管理效率,确保校园环境的安全与稳定。
在系统设计与开发过程中,我们充分考虑了校园安全管理的实际需求,结合Spring Boot框架的高效性和Java语言的稳定性,构建了一个功能完善、操作便捷的校园安全管理平台。以下是系统的主要功能模块:
-
个人中心:用户可以在此模块中管理个人信息,包括更新个人资料、修改密码等。
-
区域管理:支持对校园内的各个区域进行划分和管理,方便对不同区域的安全情况进行监控和统计。
-
监控信息管理:实现对校园监控设备的集中管理,包括监控视频的存储、检索和查看,以及监控区域的设置。
-
消息提醒管理:系统能够实时推送安全提醒信息,确保相关人员及时了解校园安全动态。
-
分类管理:对校园安全事件进行分类管理,便于快速查找和处理相关问题。
-
员工管理:管理员可以在此模块中对校园安全管理人员进行信息录入、修改和删除操作。
-
系统管理:提供系统配置、公告发布、关于我们等基础管理功能,确保系统的正常运行和信息更新。
这些功能模块的设计不仅满足了校园安全管理的基本需求,还通过信息化手段提升了管理效率和数据处理能力。系统采用B/S架构,用户无需安装额外软件,即可通过浏览器轻松操作,极大地降低了使用门槛。此外,系统在开发过程中注重用户体验,界面简洁美观,操作流程清晰易懂,能够快速上手。
总体而言,这套基于Spring Boot和Java的校园安全管理系统为校园安全管理提供了一个高效、可靠的解决方案,不仅优化了管理流程,还提升了校园安全的整体水平。未来,我们还将继续优化系统功能,增加更多实用模块,以更好地服务于校园安全管理。
注:以上是纯课题毕业设计功能介绍,并非实际开发完成,最终开发完成的毕业设计程序以下面的的环境软件、功能图和界面为准。
系统所需要的环境软件:idea、eclipse+mysql5.7、8.0+Navicat+JDK1.8+tomcat7.0
3.1整体分析
系统的分析主要分为两种,一种是需求分析,需求分析的意义在于能更快地把这个系统的架构逻辑都整理分析清楚,另一种是功能分析,功能分析的意义在于分析如何更快地处理整个系统的细节部分。
根据查阅资料分析,校园安全管理系统主要是每个内部使用,为使用者提供可视化的校园安全来支撑服务。该系统管理系统的设计与实现主要是为了解决当前校园安全管理繁杂的问题,实现高效率的规范化管理。本系统的设计实现不仅要满足当前的需要,还需具备良好的可发展性以满足未来发展的需要。
本系统通过分模块设计,主要实现个人中心、区域管理、监控信息管理、消息提醒管理、分类管理、员工管理、系统管理等的一体化管理。此外,该系统属于B/S结构,简单易上手,只需体验几次,用户就可以很熟练地使用各种功能。
3.2功能需求分析
校园安全是现如今社会信息交流中一个重要的组成部分,本文将从校园安全管理的需求和现状进行分析,使得本系统的设计实现具有可使用的价。做出一个实用性好的校园安全管理系统,使其能满足员工的需求,并可以让员工更方便快捷地管理校园安全。校园安全管理系统的设计开发,目的主要是为了简化校园安全的管理过程,使管理员更好地完成工作,在工作中实现高效快捷的管理效率。
本文从校园安全管理的实际需要出发,为降低系统的耦合性,采用springboot框架集完成了系统总体架构的设计,以提高系统的重用性、可适用性及可维护性。系统包括管理员和员工两个角色;
管理员用例如下所示:
图3-1 管理员用例图
员工用例如下所示:
图3-2 员工用例图
3.3 系统可行性分析
3.3.1技术可行性
技术可行性研究通过是否,在于对目前技术和硬件设备的剖析。系统软件开发应用的计算机语种是Java。Java语言从问世到现在不断强化,已经十分完善。运用覆盖面广,合乎开发必须。应用MySQL数据库作为数据储存,十分具有安全性,对配备规定低。这是一个经常使用的数据库。前端采用Java技术,就可以进行开发设计,让网页页面看上去又漂亮又大方,还方便维护。最终,开发环境是IDEA,因为其中包含框架和函数等等,可以立即应用。因此在技术方面是可行的。
3.3.2经济可行性
经济发展的可行性分析要从开发商的经济发展能力和用户必须的成本费2个层面来剖析。为了更好地减少项目成本,系统软件应用IDEA做为开源版本。数据库查询是开源MySQL数据库和配置好操作系统的电子计算机。用户通常挑选Tomcat 7.0做为系统软件所处的网络服务器,而电脑浏览器应用出色的IE、火狐和Google更全方位地展现CSS网页页面,进而推动系统升级维护保养,控制成本。如此看来,处于经济层面的考虑,进行开发没有阻碍。
3.3.3操作可行性
本校园安全管理系统选用B/S构造,用户不用安装其他软件就可以轻轻松松掌握和娴熟应用。与此同时,因为系统是基于springboot的,可以实现客户端的请求和服务器的端口组件,解决数据库文件的数据并回到结论。为了更好地组建和储存数据,数据库可以确保数据的一致性。一旦对数据开展操作,工作会越来越更简易,工作量也会降低。全部操作都由系统自身操纵。该系统大大减少了有关工作人员的工作量,也更便捷的让工作人员掌握具体操作全过程。既加速了工作效率,又下降了错误率。在操作上是可行的。
经过总结,该系统在经济、技术和操作方面都符合要求,并且是具有可行性的。
3.4系统流程分析
3.4.1操作流程
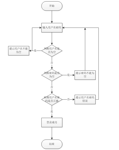
首先为系统登录页面。进入页面后,用户可进行登录和注册的操作。点击登录后,页面就会出现一个登录提示框,向用户传达信息:要进行用户名和密码的输入,完成后才可以进行下一步的操作。用户输入完成后,系统会将输入的信息提交给后台,与数据库中的信息记录进行比较判断。判断比较内容主要分为三个方面:从用户名是否为空、输入的密码是否为空、用户名和密码是否匹配三方面进行判断。只有上述三个条件同时满足,数据库中的信息匹配正确,才视为登陆成功,方可完成后续的操作。若以上三种情况有一条不满足,则会提示该次登录错误,就需要进行重新登录。系统登录流程图如图3-3所示:
图3-3登录流程图
3.4.2添加信息流程
然后是添加信息的页面。进入该页面后,页面会出现一个提示框,示意操作者可以进行信息的添加,从而进行下一步的操作。用户输入想要添加的信息后提交,系统会对输入的内容进行检测。如果检测后输入的信息正确,则会出现“添加成功”的提示框,从而可以进行下一步操作;如果系统检测后检测到想要添加的信息不符合规范要求,则会提示报错,需要进行修改后重新添加。添加信息流程图如图3-4所示:
图3-4添加信息流程图
3.4.3删除信息流程
最后为删除信息页面。进入该页面后,用户可以对所要删除的信息进行选择,选择好删除的内容后,会有一个“是否确认删除”的提示框,操作者可以根据自己的意愿来选择“是”或“否”。完成上述操作,系统会自动的对删除的内容进行判断,如果符合删除要求则会成功删除数据记录,并且更新数据库的内容信息;如果删除的数据记录不符合要求,则会有一个“删除失败”的提示框,操作人员需要根据提示来进行修改,修改完成后重新删除知道删除成功。删除信息流程图如图3-5所示:
图3-5删除信息流程图
4 系统设计
4.1 系统体系结构

图4-1系统结构
登录系统结构图,如图4-2所示:

图4-2登录结构图
4.2 系统总功能结构设计
系统按照用户的实际需求开发而来,贴近生活。从管理员通过正确的账号的密码进入系统,可以使用相关的系统应用。管理员总体负责整体系统的运行维护,统筹协调。
系统整体模块设计:系统分为管理员和员工两大角色,系统管理员有最大的权限,总体功能展示如图4-3所示。

图4-3 系统总体功能图
4.3 数据库设计
数据库设计(Database Design)是针对特定的数据库管理体系,针对特定的数据库进行结构和构建的流程。
在信息系统的开发与推荐中,数据库的设计是实现数据库与应用的关键技术。因为数据库应用系统的复杂性,使得数据库的开发工作非常复杂,所以优化的设计不是一朝一夕就可以完成的,而是一个“循序渐进”的过程,即将数据库中的数据目标和它们的相互关系进行计划和组织。
通过对校园安全管理系统的主要功能信息进行规划并分为若干功能实体信息[14],实体信息将使用E-R图加以表示,本系统的主要功能实体图如下图所示:

图4-4监控信息实体属性图

图4-5消息提醒实体属性图

图4-6公告资讯实体属性图

图4-7员工实体属性图
5.1系统功能实现
当人们打开系统的网址后,首先看到的就是首页界面。在这里,人们能够看到系统的导航条,通过导航条导航进入各功能展示页面进行操作。系统首页界面如图5-1所示:

图5-1 系统首页界面
系统注册:在系统注册页面的输入栏中输入用户注册信息进行注册操作,系统注册页面如图5-2所示:

图5-2系统注册页面
监控信息:在监控信息页面的输入栏中输入标题、选择区域和分类进行查询,可以查看到监控详细信息;监控信息页面如图5-3所示:

图5-3监控信息详细页面
个人中心:在个人中心页面输入个人信息可以进行更新操作;如图5-4所示:

图5-4 个人中心界面
5.2后台模块实现
后台用户登录,在登录页面选择需要登录的角色,在正确输入用户名和密码后,进入操作系统进行操作;如图5-5所示。

图5-5 后台登录界面
5.2.1管理员模块实现
管理员进入主页面,主要功能包括对系统首页、个人中心、区域管理、监控信息管理、消息提醒管理、分类管理、员工管理、系统管理等进行操作。管理员主页面如图5-6所示:

图5-6 管理员主界面
管理员点击监控信息管理。在监控信息页面输入标题、选择区域和分类进行查询、新增或删除监控信息列表,并根据需要对监控详情信息进行详情、立即报警、修改或删除操作;如图5-7所示:

图5-7监控信息管理界面
管理员点击消息提醒管理。在消息提醒页面输入提醒标题和区域进行查询或删除消息提醒列表,并根据需要对消息提醒详情信息进行详情、修改或删除操作;如图5-8所示:

图5-8消息提醒管理界面
管理员点击员工管理。在员工页面输入员工账号和选择性别进行查询、新增或删除员工列表,并根据需要对员工详情信息进行详情、修改或删除操作;如图5-9所示:

图5-9员工管理界面
管理员点击系统管理。在公告资讯页面输入标题进行查询、新增或删除公告资讯列表,并根据需要对公告资讯详情信息进行详情、修改或删除操作;还可以对关于我们、系统简介和轮播图管理进行详细操作;如图5-10所示:

图5-10系统管理界面
5.2.2员工模块实现
员工进入系统可以对系统首页、个人中心、消息提醒管理等功能进行操作。员工主页面如图5-11所示:

图5-11 员工主界面
源码无偿分享,文未领取
转载自CSDN-专业IT技术社区
原文链接:https://blog.csdn.net/sheji5522/article/details/156054760



